



發布日期:2020-08-27
來源:綠建之家裝配式建筑取消了施工現場大部分的現澆、現砌工作,同時對于裝配式建筑電氣施工尤其是雷電防護上的施工提出了與以往不同的施工要求,相較于傳統建筑防雷設計來說,現階段裝配式建筑防雷設計還不成熟,在施工過程中存在諸多問題。以某裝配式建筑項目的防雷引下線設計為例,探討現階段裝配式建筑的防雷設計思路,解決裝配式建筑的防雷引下線施工難題。
裝配式混凝土結構建筑特點
根據GB/T51231-2016《裝配式混凝土建筑技術標準》的要求,裝配式混凝土結構建筑分為裝配整體框架結構建筑、裝配整體式剪力墻結構建筑、裝配式墻板結構建筑三類。第一類多用于公共建筑,第二類多用于住宅建筑,第三類適用于抗震設防類別為丙類的多層住宅。
某項目采用裝配式框架-剪力墻結構+預制外墻板結構體系,由預制柱、預制疊合梁、預制疊合樓板、預制外墻板、預制樓梯等預制構件組成。這些預制構件均由預制構件廠生產后運輸至施工現場,通過吊裝設備按照吊裝圖紙裝配而成,如圖1所示。

圖1 裝配式混凝土結構建筑預制構件拆分圖
由于裝配式建筑是由各模塊拼裝而成,在預制構件連接方式上,其中梁、板之間的連接通常設計為預制加現澆層,而上、下層預制柱間縱向鋼筋的連接則采用套筒灌漿技術連接。從圖2可以看出,上部預制柱灌漿套筒與下部預制柱柱頭鋼筋之間的縫隙已被灌漿料填滿,因此上、下層預制柱內的鋼筋并沒有形成連續的電氣通路,當利用預制柱內主筋作為防雷引下線時,需要采取特殊措施。

圖2 預制柱灌漿套筒連接示意圖
(注:可查閱《圖解裝配式建筑施工的關鍵工藝——套筒灌漿》詳細了解套筒灌漿工藝特點)
防雷引下線設計
引下線即用于將雷電流從接閃器傳導至接地裝置的導體。當利用混凝土內鋼筋作引下線時,引下線的設計應根據GB50057-2010《建筑物防雷設計規范》第4.3.5條、第4.4.5條的規定選擇合適的直徑,同時還須根據規范中第4.3.3條、第4.4.3條要求按建筑物的防雷類別設置位置及數量。在傳統現澆混凝土結構建筑中,建筑物的防雷設計均優先利用結構柱內對角兩根主筋作為防雷引下線,通過鋼筋螺紋套筒或搭接焊的形式很容易形成雷電電氣通路,施工過程由現場的電氣施工員與結構施工員配合完成,施工工序簡單,省時、省材料。
而在裝配式建筑防雷引下線設計上,為實現構件之間連成電氣貫通滿足防雷要求,就需要在預制構件內(主要指預制柱)設計附加專用導體。目前,上、下層預制柱內引下線連接節點在設計圖上通常采用兩根Ф10圓鋼通過與預制柱內兩根主筋連接并預留足夠的長度于柱外作為附加專用導體。

1.上部預制柱主筋;2.Ф10圓鋼;3.灌漿套筒;4.下部預制柱主筋;5.Ф10圓鋼;6.預埋接地連接板;a1.上部預制柱;a2.現澆樓板;a3.預制疊合梁;a4.下部預制柱;a5.預制柱內主筋

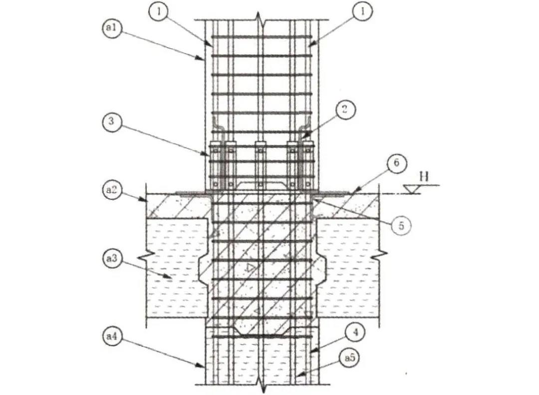
1.上部預制柱主筋;2.Ф10圓鋼;3.灌漿套筒;4.預埋接地連接板;5-40*4鍍鋅扁鋼;6.基礎地梁內不小于Ф16兩根鋼筋;a3.預制柱內主筋;a4.上部預制柱;a6.樁基承臺;a7.結構樁;a8.現澆柱
上圖3為預制柱間引下線的連接大樣圖,圖中①為用作防雷引下線的上部預制柱主筋;②為采用010圓鋼作為附加專用導體,在預制柱生產時與用作防雷引下線的上部預制柱主筋①焊接(焊接長度60mm),并由預制柱底部引出;③為灌漿套筒,在預制柱生產時與上部預制柱主筋通過螺紋連接預埋于上部預制柱底部;④為用做防雷引下線的下部預制柱主筋,現場裝配時,首先利用Ф10圓鋼⑤與用做防雷引下線的下部預制柱主筋④焊接(焊接長度60mm),并由預制柱頂部引出至疊合板現澆層內,在疊合板現澆面層設置預埋接地連接板⑥,并與Ф10圓鋼⑤焊接;在上部預制柱安裝到位后,將附加專用導體②與預埋接地連接板⑥焊接(焊接長度60mm),完成上、下層預制柱內引下線鋼筋的相互連接。上圖4為首層預制柱內引下線鋼筋與現澆柱的連接大樣,其做法與圖3雷同。
裝配式建筑防雷引下線施工難點
上述裝配式建筑防雷引下線設計雖然實現構件之間連成電氣貫通滿足防雷要求,但在施工過程中卻存在如下幾點問題:
(1)由預制柱底部引出的Ф10圓鋼在預制構件運輸及吊裝過程若保護不到位易出現折彎、折斷現象,一旦出現上述情況便失去引下線的作用。圖5為施工現場常用的預制柱引下線設計成品照片。
(2) 圖3中預埋接地連接板⑥設置在現澆層內,應滿足與樓板結構面平齊方能使上部預制構件落位后與附加專用導體②焊接。然而,在現場施工過程中預埋接地連接板⑥的安裝高度難把控,施工中接地連接板往往存在高出或低于結構面,當高出結構面時,其50mm的建筑面層無法將其完全隱蔽;當低于結構面時,必須通過鑿打結構面找出預埋接地連接板,而鑿打后的結構面坑坑洼洼存在質量缺陷問題。圖5、圖6為預埋接地連接板⑥在施工現場常見的質量問題照片。

圖5施工現場常見質量問題照片1

圖6施工現場常見質量問題照片2
(3) 由于預埋接地連接板采用鍍鋅鋼板,其表面較為光滑,當預埋高度低于結構面,經過鑿打找出的接地連接板,易導致其底部與結構脫離從而產生空鼓的現象,而空鼓處一旦有積水將會腐蝕附加專用導體②以及預埋接地連接板⑥,存在雷電安全隱患。
(4)在上部預制柱吊裝落位后,預制柱底部預留的附加專用導體②必須經過折彎并甩岀至結構面,然后與設置在疊合板現澆面層的預埋接地連接板⑥焊接,附加專用導體②在折彎過程易擋住相鄰灌漿套筒的底部出漿孔,影響該處灌漿套筒的灌漿質量,存在質量安全隱患。
裝配式建筑防雷引下線施工要點
為了提高防雷引下線在裝配式建筑中的施工質量,針對施工中可能存在的問題提岀以下幾點看法:
(1)在預制構件吊裝運輸前,應先開展預制構件吊裝施工技術及安全技術交底工作,提高施工人員的施工安全意識與預制構件成品保護意識,使成品預制構件的損壞率降低為零,從而保證成品構件功能的完整性。
(2)完善相關生產責任制,劃分好各項施工任務并落實相關責任人,提高施工人員責任意識。施工前應對施工班組進行施工技術交底。施工時應嚴格按照施工工序開展施工作業。預埋件放樣時可借助放樣機器人、激光儀、水平儀等設備進行定位。施工過程中應有專人負責跟蹤,嚴格把控接地連接板安裝高度。施工完畢應對每處預埋點位進行標高復合,從而提高預埋接地連接板的準確度和施工質量。
(3)在上部預制柱吊裝前,應先對附加專用導體的Ф10圓鋼做折彎處理,避開預制柱底部灌漿套筒的出漿孔,待上部預制柱吊裝落位后再進行焊接工作。對附加專用導體與接地連接板焊接長度無法滿足≥60mm時,可通過圓鋼進行跨接,再與預埋接地連接板有效焊接,嚴禁通過敲打拗彎附加專用導體來滿足與接地連接板的焊接長度,圓鋼與圓鋼間應上下搭接雙面施焊。
防雷引下線在裝配式建筑中的設計建議
與傳統建筑防雷引下線施工相比,裝配式建筑防雷引下線的施工工序多,且耗時、耗工、耗材料。目前,裝配式建筑對于機電安裝專業來說,其并未在安裝上帶來效益,反而提高了機電安裝專業施工難度。為解決裝配式建筑在機電安裝專業存在的問題,實現裝配式建筑真正的高效施工優勢,應從裝配式建筑設計源頭上解決上述存在的問題。
根據裝配式建筑的特點,通過調整原有的防雷設計思路,從而提供一種裝配式建筑防雷引下線新型連接裝置及其施工方法。該防雷引下線的連接裝置結構簡單可靠,在不影響結構鋼筋套筒連接的力學性能和裝配式簡易施工的前提下,實現將裝配式混凝土結構中豎向結構構件的結構鋼筋作為防雷接地引下線,從而節約施工成本,縮短施工工期,還解決了原有裝配式建筑防雷引下線設計所帶來的施工難題。

1.上部預制柱主筋;2,Ф10圓鋼;3.-40 X 4鍍鋅扁鋼;4.下部預制柱主筋;5.Ф10圓鋼;a1.上部預制柱;a2.下部預制柱;a3.灌漿套筒
圖7為裝配式建筑防雷引下線新型連接裝置示意圖,圖中①為用做防雷引下線的上部預制柱主筋;②為采用Ф10圓鋼作附加專用導體;③為-40x4鍍鋅扁鋼,長度為150mm,在預制柱生產時將-40x4鍍鋅扁鋼預埋于上部預制柱的柱腳凹槽內,其正面與凹槽面平齊,凹槽深50mm。在鍍鋅扁鋼的背面則通過Ф10圓鋼②與防雷引下線的上部預制柱主筋①進行跨接,兩端跨接長度為60mm。上述施工作業均在預制構件廠完成,預制柱的成品樣式如圖9所示。

圖8預制柱成品圖
圖7中④為用作防雷引下線的下部預制柱主筋,在疊合板現澆層澆筑前,首先利用Ф10圓鋼⑤的一端與用作防雷引下線的下部預制柱柱頭主筋④焊接(焊接長度60mm);另一端則伸出現澆層結構面,在上部預制柱安裝到位后,通過Ф10圓鋼⑤與-40x4鍍鋅扁鋼③焊接(焊接長度60mm),最終實現上、下層預制柱內的防雷引下線連成電氣貫通滿足防雷要求。圖9為裝配式建筑防雷引下線施工效果圖。

圖9 裝配式建筑防雷引下線施工效果圖
調整后的裝配式建筑防雷引下線設計取消了預制柱底部預留的Ф10圓鋼引下線,改為鍍鋅扁鋼預埋在預制柱的柱腳凹槽內,從根源上解決了防雷引下線在安裝過程中的施工質量問題,杜絕了上述問題而帶來的質量安全隱患。而且該裝配式建筑防雷引下線新型連接裝置不僅便于預制構件的成品保護,還簡化了防雷引下線安裝的施工工序,有效地提高了防雷引下線安裝施工效率,且更好地融合了裝配式建筑的高效施工設計思路。
結語
本文歸納、總結了現階段裝配式混凝土結構建筑防雷引下線設計的施工要點和措施,通過防雷引下線設計在裝配式建筑施工中存在的問題進行分析與探討,并根據裝配式建筑的特點提出不同的防雷引下線設計思路,形成了一種裝配式建筑防雷引下線新型連接裝置及施工方法,解決裝配式建筑的防雷引下線施工難題,供設計人員與施工人員參考。
來源:裝配式360